SPL v2
SPL
SPL Set ID bdcf37fc-3938-4d3f-b669-35c6939eac4f
Route
ORAL
Published
Effective Date 2018-09-08
Document Type 34390-5 HUMAN OTC DRUG LABEL

Drug Facts

Composition & Product

Active Ingredients
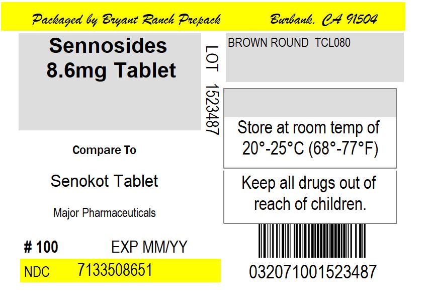
Sennosides A And B (8.6 mg)
Inactive Ingredients
Croscarmellose Sodium Dibasic Calcium Phosphate Dihydrate Hypromellose, Unspecified Magnesium Stearate Microcrystalline Cellulose Mineral Oil

Identifiers & Packaging

Pill Appearance
Imprint: TCL080 Shape: round Color: brown Size: 9 mm Score: 1
Marketing Status
OTC MONOGRAPH NOT FINAL Active Since 2012-05-14

Description

DRUG FACTS

How Supplied

NDC: 71335-0865-1 100 TABLET in a BOTTLE NDC: 71335-0865-2 60 TABLET in a BOTTLE NDC: 71335-0865-3 120 TABLET in a BOTTLE NDC: 71335-0865-4 56 TABLET in a BOTTLE NDC: 71335-0865-5 30 TABLET in a BOTTLE NDC: 71335-0865-6 90 TABLET in a BOTTLE


Medication Information

Warnings and Precautions

WARNINGS:  Do not use laxative products for longer than 1 week unless directed by a doctor

Indications and Usage

Uses

  • relieves occasional constipation (irregularity)
  • generally causes bowel movement in 6-12 hours
Dosage and Administration

Directions: Take preferably at bedtime or as directed by a doctor; if you do not have a comfortable bowel movement by the second day, increase dose by one tablet (do not exceed maximum dosage) or decrease dose until you are comfortable.Adults and children 12 years and over - starting dosage: 2 tablets once a day Maximum dosage: 4 tablets twice a dayChildren 6 to under 12 years - starting dosage: 1 tablet once a day Maximum dosage: 2 tablets twice a dayChildren 2 to under 6 years - starting dosage: 1/2 tablet once a day Maximum dosage: 1 tablet twice a dayChildren under 2 years - ask a doctor

How Supplied

NDC: 71335-0865-1 100 TABLET in a BOTTLE

NDC: 71335-0865-2 60 TABLET in a BOTTLE

NDC: 71335-0865-3 120 TABLET in a BOTTLE

NDC: 71335-0865-4 56 TABLET in a BOTTLE

NDC: 71335-0865-5 30 TABLET in a BOTTLE

NDC: 71335-0865-6 90 TABLET in a BOTTLE

Description

DRUG FACTS

Section 42229-5

DRUG FACTS

Section 50565-1

Keep out of reach of children.  In case of overdose, get medical help or contact a Poison Control Center right away

Section 50569-3

Ask a doctor before use if you have

  • stomach pain
  • nausea
  • vomiting
  • noticed a sudden change in bowel movements that continues over a period of 2 weeks
Section 51727-6

 Inactive Ingredients: croscarmellose sodium, dibasic calcium phosphate dihydrate, hypromellose, magnesium stearate, microcrystalline cellulose, mineral oil

Section 55105-1

Purpose

Laxative

Section 55106-9

Active ingredient (in each tablet)

Sennosides 8.6 mg

Sennosides 8.6mg Tablet

Structured Label Content

Indications and Usage (34067-9)

Uses

  • relieves occasional constipation (irregularity)
  • generally causes bowel movement in 6-12 hours
Dosage and Administration (34068-7)

Directions: Take preferably at bedtime or as directed by a doctor; if you do not have a comfortable bowel movement by the second day, increase dose by one tablet (do not exceed maximum dosage) or decrease dose until you are comfortable.Adults and children 12 years and over - starting dosage: 2 tablets once a day Maximum dosage: 4 tablets twice a dayChildren 6 to under 12 years - starting dosage: 1 tablet once a day Maximum dosage: 2 tablets twice a dayChildren 2 to under 6 years - starting dosage: 1/2 tablet once a day Maximum dosage: 1 tablet twice a dayChildren under 2 years - ask a doctor

Warnings and Precautions (34071-1)

WARNINGS:  Do not use laxative products for longer than 1 week unless directed by a doctor

Section 42229-5 (42229-5)

DRUG FACTS

Section 50565-1 (50565-1)

Keep out of reach of children.  In case of overdose, get medical help or contact a Poison Control Center right away

Section 50569-3 (50569-3)

Ask a doctor before use if you have

  • stomach pain
  • nausea
  • vomiting
  • noticed a sudden change in bowel movements that continues over a period of 2 weeks
Section 51727-6 (51727-6)

 Inactive Ingredients: croscarmellose sodium, dibasic calcium phosphate dihydrate, hypromellose, magnesium stearate, microcrystalline cellulose, mineral oil

Section 55105-1 (55105-1)

Purpose

Laxative

Section 55106-9 (55106-9)

Active ingredient (in each tablet)

Sennosides 8.6 mg

How Supplied (HOW SUPPLIED)

NDC: 71335-0865-1 100 TABLET in a BOTTLE

NDC: 71335-0865-2 60 TABLET in a BOTTLE

NDC: 71335-0865-3 120 TABLET in a BOTTLE

NDC: 71335-0865-4 56 TABLET in a BOTTLE

NDC: 71335-0865-5 30 TABLET in a BOTTLE

NDC: 71335-0865-6 90 TABLET in a BOTTLE

Sennosides 8.6mg Tablet

Advanced Ingredient Data


Raw Label Data

All Sections (JSON)