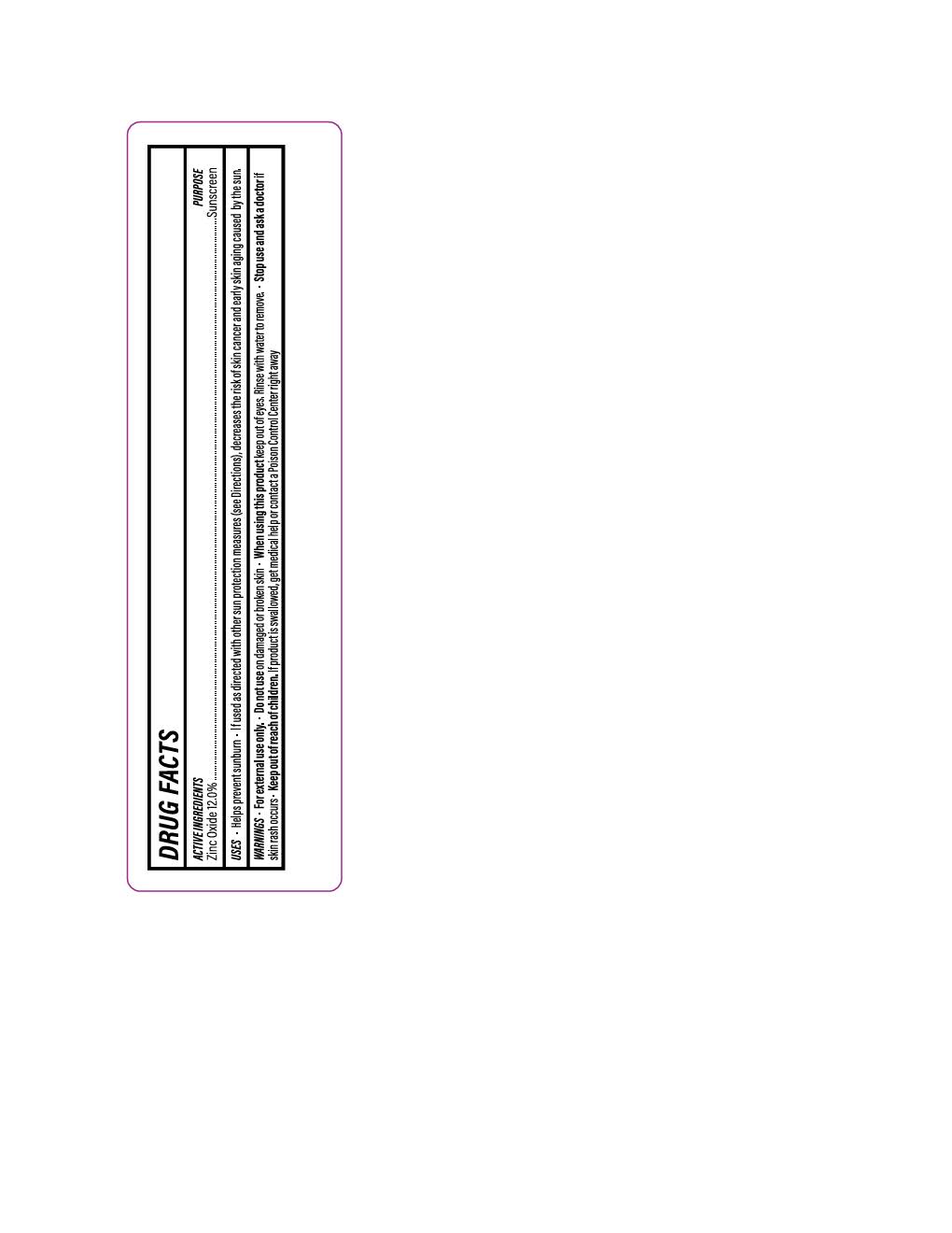
Home SPL Set DailyMed Daily Essential Face Moisturizer Daily Essential Face Moisturizer SPL v3 SPL SPL Set ID 2a92edc1-04ac-3eda-e063-6294a90ad46d Route TOPICAL Published Effective Date 2024-12-09 Document Type 34390-5 HUMAN OTC DRUG LABEL Drug Facts Composition & Product Active Ingredients Zinc Oxide (132 mg) Inactive Ingredients Lecithin, Soybean Polyglyceryl-2 Dipolyhydroxystearate Hydrolyzed Jojoba Esters (acid Form) Methylpropanediol Caprylyl Glycol Phenylpropanol Xanthan Gum Isoamyl Laurate Hexylene Glycol Tocopherol Cetyl Alcohol Ethylhexylglycerin Glycerin Silicon Dioxide Water .alpha.-bisabolol, (+)- Butyloctyl Salicylate Ceteth-20 Pullulan Squalane Steareth-20 Tetrasodium Glutamate Diacetate Phenoxyethanol Peg-75 Stearate Rosa Damascena Flower Oil Glyceryl Stearate Pyrus Malus (apple) Fruit Lavandula Angustifolia (lavender) Oil Helianthus Annuus (sunflower) Seed Oil Allantoin Caprylic/capric Triglyceride Identifiers & Packaging Pill Appearance Color: white Marketing Status OTC MONOGRAPH DRUG Active Since 2024-12-09 Medication Information Daily Essential Face Moisturizer Structured Label Content Daily Essential Face Moisturizer Advanced Ingredient Data [{"name": "LECITHIN, SOYBEAN", "unii": "1DI56QDM62", "classCode": "IACT", "strengthNumerator": "", "strengthDenominator": "", "strengthNumeratorUnit": "", "strengthDenominatorUnit": ""}, {"name": "POLYGLYCERYL-2 DIPOLYHYDROXYSTEARATE", "unii": "9229XJ4V12", "classCode": "IACT", "strengthNumerator": "", "strengthDenominator": "", "strengthNumeratorUnit": "", "strengthDenominatorUnit": ""}, {"name": "HYDROLYZED JOJOBA ESTERS (ACID FORM)", "unii": "UDR641JW8W", "classCode": "IACT", "strengthNumerator": "", "strengthDenominator": "", "strengthNumeratorUnit": "", "strengthDenominatorUnit": ""}, {"name": "METHYLPROPANEDIOL", "unii": "N8F53B3R4R", "classCode": "IACT", "strengthNumerator": "", "strengthDenominator": "", "strengthNumeratorUnit": "", "strengthDenominatorUnit": ""}, {"name": "CAPRYLYL GLYCOL", "unii": "00YIU5438U", "classCode": "IACT", "strengthNumerator": "", "strengthDenominator": "", "strengthNumeratorUnit": "", "strengthDenominatorUnit": ""}, {"name": "PHENYLPROPANOL", "unii": "0F897O3O4M", "classCode": "IACT", "strengthNumerator": "", "strengthDenominator": "", "strengthNumeratorUnit": "", "strengthDenominatorUnit": ""}, {"name": "XANTHAN GUM", "unii": "TTV12P4NEE", "classCode": "IACT", "strengthNumerator": "", "strengthDenominator": "", "strengthNumeratorUnit": "", "strengthDenominatorUnit": ""}, {"name": "ISOAMYL LAURATE", "unii": "M1SLX00M3M", "classCode": "IACT", "strengthNumerator": "", "strengthDenominator": "", "strengthNumeratorUnit": "", "strengthDenominatorUnit": ""}, {"name": "HEXYLENE GLYCOL", "unii": "KEH0A3F75J", "classCode": "IACT", "strengthNumerator": "", "strengthDenominator": "", "strengthNumeratorUnit": "", "strengthDenominatorUnit": ""}, {"name": "TOCOPHEROL", "unii": "R0ZB2556P8", "classCode": "IACT", "strengthNumerator": "", "strengthDenominator": "", "strengthNumeratorUnit": "", "strengthDenominatorUnit": ""}, {"name": "CETYL ALCOHOL", "unii": "936JST6JCN", "classCode": "IACT", "strengthNumerator": "", "strengthDenominator": "", "strengthNumeratorUnit": "", "strengthDenominatorUnit": ""}, {"name": "ETHYLHEXYLGLYCERIN", "unii": "147D247K3P", "classCode": "IACT", "strengthNumerator": "", "strengthDenominator": "", "strengthNumeratorUnit": "", "strengthDenominatorUnit": ""}, {"name": "GLYCERIN", "unii": "PDC6A3C0OX", "classCode": "IACT", "strengthNumerator": "", "strengthDenominator": "", "strengthNumeratorUnit": "", "strengthDenominatorUnit": ""}, {"name": "SILICON DIOXIDE", "unii": "ETJ7Z6XBU4", "classCode": "IACT", "strengthNumerator": "", "strengthDenominator": "", "strengthNumeratorUnit": "", "strengthDenominatorUnit": ""}, {"name": "WATER", "unii": "059QF0KO0R", "classCode": "IACT", "strengthNumerator": "", "strengthDenominator": "", "strengthNumeratorUnit": "", "strengthDenominatorUnit": ""}, {"name": ".ALPHA.-BISABOLOL, (+)-", "unii": "105S6I733Z", "classCode": "IACT", "strengthNumerator": "", "strengthDenominator": "", "strengthNumeratorUnit": "", "strengthDenominatorUnit": ""}, {"name": "BUTYLOCTYL SALICYLATE", "unii": "2EH13UN8D3", "classCode": "IACT", "strengthNumerator": "", "strengthDenominator": "", "strengthNumeratorUnit": "", "strengthDenominatorUnit": ""}, {"name": "CETETH-20", "unii": "I835H2IHHX", "classCode": "IACT", "strengthNumerator": "", "strengthDenominator": "", "strengthNumeratorUnit": "", "strengthDenominatorUnit": ""}, {"name": "PULLULAN", "unii": "8ZQ0AYU1TT", "classCode": "IACT", "strengthNumerator": "", "strengthDenominator": "", "strengthNumeratorUnit": "", "strengthDenominatorUnit": ""}, {"name": "SQUALANE", "unii": "GW89575KF9", "classCode": "IACT", "strengthNumerator": "", "strengthDenominator": "", "strengthNumeratorUnit": "", "strengthDenominatorUnit": ""}, {"name": "STEARETH-20", "unii": "L0Q8IK9E08", "classCode": "IACT", "strengthNumerator": "", "strengthDenominator": "", "strengthNumeratorUnit": "", "strengthDenominatorUnit": ""}, {"name": "ZINC OXIDE", "unii": "SOI2LOH54Z", "classCode": "ACTIB", "strengthNumerator": "132", "strengthDenominator": "1", "strengthNumeratorUnit": "mg", "strengthDenominatorUnit": "mL"}, {"name": "TETRASODIUM GLUTAMATE DIACETATE", "unii": "5EHL50I4MY", "classCode": "IACT", "strengthNumerator": "", "strengthDenominator": "", "strengthNumeratorUnit": "", "strengthDenominatorUnit": ""}, {"name": "PHENOXYETHANOL", "unii": "HIE492ZZ3T", "classCode": "IACT", "strengthNumerator": "", "strengthDenominator": "", "strengthNumeratorUnit": "", "strengthDenominatorUnit": ""}, {"name": "PEG-75 STEARATE", "unii": "OT38R0N74H", "classCode": "IACT", "strengthNumerator": "", "strengthDenominator": "", "strengthNumeratorUnit": "", "strengthDenominatorUnit": ""}, {"name": "ROSA DAMASCENA FLOWER OIL", "unii": "18920M3T13", "classCode": "IACT", "strengthNumerator": "", "strengthDenominator": "", "strengthNumeratorUnit": "", "strengthDenominatorUnit": ""}, {"name": "GLYCERYL STEARATE", "unii": "230OU9XXE4", "classCode": "IACT", "strengthNumerator": "", "strengthDenominator": "", "strengthNumeratorUnit": "", "strengthDenominatorUnit": ""}, {"name": "PYRUS MALUS (APPLE) FRUIT", "unii": "B423VGH5S9", "classCode": "IACT", "strengthNumerator": "", "strengthDenominator": "", "strengthNumeratorUnit": "", "strengthDenominatorUnit": ""}, {"name": "LAVANDULA ANGUSTIFOLIA (LAVENDER) OIL", "unii": "ZBP1YXW0H8", "classCode": "IACT", "strengthNumerator": "", "strengthDenominator": "", "strengthNumeratorUnit": "", "strengthDenominatorUnit": ""}, {"name": "HELIANTHUS ANNUUS (SUNFLOWER) SEED OIL", "unii": "3W1JG795YI", "classCode": "IACT", "strengthNumerator": "", "strengthDenominator": "", "strengthNumeratorUnit": "", "strengthDenominatorUnit": ""}, {"name": "ALLANTOIN", "unii": "344S277G0Z", "classCode": "IACT", "strengthNumerator": "", "strengthDenominator": "", "strengthNumeratorUnit": "", "strengthDenominatorUnit": ""}, {"name": "CAPRYLIC/CAPRIC TRIGLYCERIDE", "unii": "C9H2L21V7U", "classCode": "IACT", "strengthNumerator": "", "strengthDenominator": "", "strengthNumeratorUnit": "", "strengthDenominatorUnit": ""}] Raw Label Data All Sections (JSON) {} Additional Information Back to search View SPL set listing Open on DailyMed ↗ Source: dailymed · Ingested: 2026-02-15T12:07:14.486517 · Updated: 2026-03-14T23:10:29.645873