Drug Facts

Drug Facts
SPL v4
SPL
SPL Set ID 0607e8b0-b231-47bb-8133-10d46e7c0ac7
Route
ORAL
Published
Effective Date 2011-12-30
Document Type 34390-5 HUMAN OTC DRUG LABEL

Drug Facts

Composition & Product

Active Ingredients
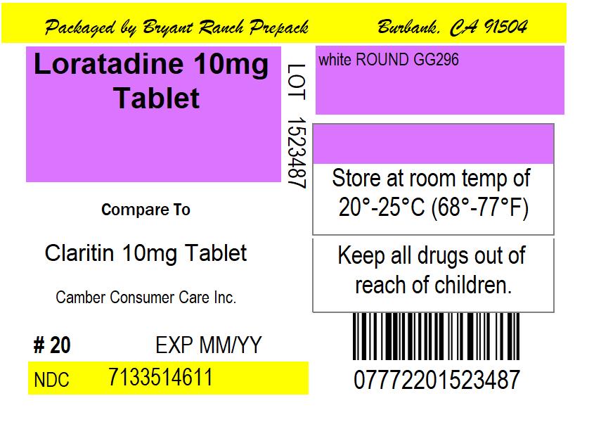
Loratadine (10 mg)
Inactive Ingredients
Lactose Monohydrate Magnesium Stearate Microcrystalline Cellulose Sodium Starch Glycolate Type A Corn

Identifiers & Packaging

Pill Appearance
Imprint: GG296 Shape: round Color: white Size: 6 mm Score: 1
Marketing Status
ANDA Active Since 2018-12-31

Description

Loratadine, USP 10 mg

Purpose

Antihistamine

How Supplied

NDC: 71335-1461-1: 20 Tablets in a BOTTLE NDC: 71335-1461-2: 30 Tablets in a BOTTLE NDC: 71335-1461-3: 60 Tablets in a BOTTLE NDC: 71335-1461-4: 14 Tablets in a BOTTLE NDC: 71335-1461-5: 10 Tablets in a BOTTLE NDC: 71335-1461-6: 90 Tablets in a BOTTLE NDC: 71335-1461-7: 28 Tablets in a BOTTLE NDC: 71335-1461-8: 15 Tablets in a BOTTLE NDC: 71335-1461-9: 100 Tablets in a BOTTLE


Medication Information

Purpose

Antihistamine

How Supplied

NDC: 71335-1461-1: 20 Tablets in a BOTTLE

NDC: 71335-1461-2: 30 Tablets in a BOTTLE

NDC: 71335-1461-3: 60 Tablets in a BOTTLE

NDC: 71335-1461-4: 14 Tablets in a BOTTLE

NDC: 71335-1461-5: 10 Tablets in a BOTTLE

NDC: 71335-1461-6: 90 Tablets in a BOTTLE

NDC: 71335-1461-7: 28 Tablets in a BOTTLE

NDC: 71335-1461-8: 15 Tablets in a BOTTLE

NDC: 71335-1461-9: 100 Tablets in a BOTTLE

Description

Loratadine, USP 10 mg

Uses

temporarily relieves these symptoms due to hay fever or other upper respiratory allergies:

  • runny nose
  • sneezing
  • itchy, watery eyes
  • itching of the nose or throat
Section 51945-4

Loratadine 10mg Tablet

Directions
adults and children 6 years and over 1 tablet daily; not more than 1 tablet in 24 hours 
children under 6 years of age   ask a doctor 
consumers with liver or kidney disease  ask a doctor


Do Not Use

if you have ever had an allergic reaction to this product or any of its ingredients.

Other Information
  • store at 20º-25ºC (68º-77ºF) (see UPS Controlled Room Temperature)
Inactive Ingredients

lactose monohydrate, magnesium stearate, microcrystalline cellulose, sodium starch glycolate

Questions Or Comments?

Call 1-888-588-1418 Monday-Friday 9AM-5PM EST

When Using This Product,

do not take more than directed. Taking more than directed may cause drowsiness.

Stop Use and Ask a Doctor If

 an allergic reaction to this product occurs. Seek medical help right away

If Pregnant Or Breast Feeding,

 ask a health professional before use.

Keep Out of Reach of Children.

In case of overdose, get medical help or contact a Poison Control Center right away (1-800-222-1222)

Active Ingredient (in Each Tablet)

Loratadine, USP 10 mg

Ask A Doctor Before Use If You Have

liver or kidney disease. Your doctor should determine if you need a different dose.


Structured Label Content

Uses

temporarily relieves these symptoms due to hay fever or other upper respiratory allergies:

  • runny nose
  • sneezing
  • itchy, watery eyes
  • itching of the nose or throat
Section 51945-4 (51945-4)

Loratadine 10mg Tablet

Purpose

Antihistamine

Directions
adults and children 6 years and over 1 tablet daily; not more than 1 tablet in 24 hours 
children under 6 years of age   ask a doctor 
consumers with liver or kidney disease  ask a doctor


Do Not Use (Do not use)

if you have ever had an allergic reaction to this product or any of its ingredients.

How Supplied (HOW SUPPLIED)

NDC: 71335-1461-1: 20 Tablets in a BOTTLE

NDC: 71335-1461-2: 30 Tablets in a BOTTLE

NDC: 71335-1461-3: 60 Tablets in a BOTTLE

NDC: 71335-1461-4: 14 Tablets in a BOTTLE

NDC: 71335-1461-5: 10 Tablets in a BOTTLE

NDC: 71335-1461-6: 90 Tablets in a BOTTLE

NDC: 71335-1461-7: 28 Tablets in a BOTTLE

NDC: 71335-1461-8: 15 Tablets in a BOTTLE

NDC: 71335-1461-9: 100 Tablets in a BOTTLE

Other Information (Other information)
  • store at 20º-25ºC (68º-77ºF) (see UPS Controlled Room Temperature)
Inactive Ingredients (Inactive ingredients)

lactose monohydrate, magnesium stearate, microcrystalline cellulose, sodium starch glycolate

Questions Or Comments? (Questions or comments?)

Call 1-888-588-1418 Monday-Friday 9AM-5PM EST

When Using This Product, (When using this product,)

do not take more than directed. Taking more than directed may cause drowsiness.

Stop Use and Ask a Doctor If (Stop use and ask a doctor if)

 an allergic reaction to this product occurs. Seek medical help right away

If Pregnant Or Breast Feeding, (If pregnant or breast-feeding,)

 ask a health professional before use.

Keep Out of Reach of Children. (Keep out of reach of children.)

In case of overdose, get medical help or contact a Poison Control Center right away (1-800-222-1222)

Active Ingredient (in Each Tablet) (Active ingredient (in each tablet))

Loratadine, USP 10 mg

Ask A Doctor Before Use If You Have (Ask a doctor before use if you have)

liver or kidney disease. Your doctor should determine if you need a different dose.


Advanced Ingredient Data


Raw Label Data

All Sections (JSON)